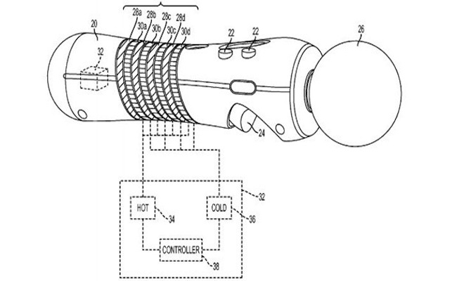
Sony’s Patent on Temperature Controlled Move Peripheral
Innovation: For some, it’s the complete redesign of a gaming console while others look at it as taking a gameplay mechanic and tweaking it to...
Innovation: For some, it’s the complete redesign of a gaming console while others look at it as taking a gameplay mechanic and tweaking it to...
As I found myself picking off decaying zombies in a dim graveyard in Resident Evil 6, I couldn’t help but flash back to the early...
With Resident Evil 6 currently making a quazi-permanent home in my Playstation 3, I couldn’t help but find myself reminiscing about seven months ago, when...
The nights are getting longer, and that can only mean one thing: Summer is ending, fall is coming, Halloween is near. Each Halloween season, I...
There are few occasions where we spend the entirety of playing through ones’ story condemning them to damnation only to have our outlook of this...
While many equate the beginning of autumn as the inevitable return to schooling, there are a select few that find themselves overwhelmed for completely different...
Growing up as a gamer, there have been plenty of titles that I have had the pleasure of playing that have been burnt into my...
Last night, as I was plowing through the citizens of Liberty City, a thought suddenly reminded me about the impending release of Grand Theft Auto...
The other night I made a mistake. An awful mistake that, even today – almost two days later – I’m still paying for. Through my...
Coming off of the critically acclaimed Gears of War and the ever popular Unreal series, there were some that thought that developers Epic Games and...
I think it’s about time I’ve introduced myself to you. I am a long time gamer known on Xbox Live and the Playstation Network as...
Directors like M. Night Shyamalan are known for their unexpected turns within their movies. The thrive on the audiences shock when the plot takes that...
You’ve had a bad day at work and come home to find that the dog has knocked over the trash can and the washing machine...
Statistically, the late summer and early fall months of August and September hold the highest birth rates throughout the year. Between the joy of the...
On my journey through the world wide web, I’ve learned that just about anything is for sale. Looking for a drivable replica of the Ecto...
Back in 1993, Stephen Spielberg and the crew at Industrial Light and Magic brought to life a prehistoric, man-made world conceived by Michael Crichton in...